Фев
07
Суббота
Курсы валют на 07.02.2026.
Курс ЦБ РФ
$ USD
77.05 руб.
₴ UAH
1.79 руб.
€ EUR
91.05 руб.
Цены драгоценных металлов на 07.02.2026.
В руб за 1г.
Золото
12008.3
Платина
5014.14
Серебро
194.99
Палладий
4161.93
Серебро (AG)
Золото (AU)
Палладий (PD)
Платина (PT)
руб/грамм
$/ozt
грив/грамм
продажа
покупка
дата начала
дата окончания
1 Доллар США
1 Евро
10 Украинских гривен
100 Японских иен
дата начала
дата окончания
Регистрация
|
Авторизация
Текущее время Сб Фев 7, 2026 10:02
Главная
Форум
Галерея
Реклама
Баннеры JPORTAL
Профиль
Контакты
https://www.traditionrolex.com/13
« Фото
Видео »
Моя галерея
Все фото
Главная
>
Галерея
>
Илья
>
Новый альбом
>
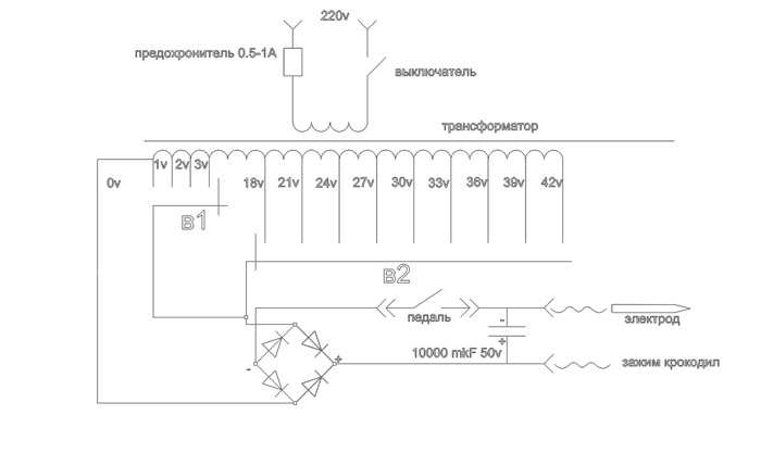
Схема сварки
Схема сварки
Файл
15
из 15
Для вставки на форуме:
[URL=/gallery/user/%D0%98%D0%BB%D1%8C%D1%8F/158/667/][IMG]/upload/resize_cache/iblock/af0/480_480_1821712164bebe8964a3cb4f91f48bb72/Puk_shf.jpg[/IMG][/URL]
Рейтинг:
2.63/5 (Проголосовало: 3)
Кол-во просмотров:
2757
Комментарии
https://www.traditionrolex.com/13